元宵节,也叫灯节,元宵节这一天,到处张灯结彩,热闹非常。今天正月十五,成都每年的春节到元宵节期间都有灯会,而且成都市内举办灯会的地点很多。很多春节期间回家、旅游、探亲没有去看灯会的朋友都可以抓紧时间去看哦!作为商标人,欢度节日的同时,我们一起来看看那些与“元宵”有关的商标。
传统节日名称蕴含着诸多利益与商机,将其作为商标申请注册使用,可以快速被公众所接受并形成品牌效应。但传统节日背后所蕴藏的经济利益,使得节日名称争相被企业或个人作为商标进行申请注册,围绕着节日名称的争夺战愈演愈烈。
传统节日名称虽然可以用来注册商标的,但是商标法要求商标具有显著性,节日名称(节日的通用名称)作为商标申请在与本节日有关的商品或者服务上,不具有商标的显著性。根据商标法规定,这样的叙述性商标只能在通过使用产生显著性之后,才能获准注册。所以节日名称的通用名称部分即使作为商标注册了,也并不能排除他人在商业活动中善意地、正当地使用。
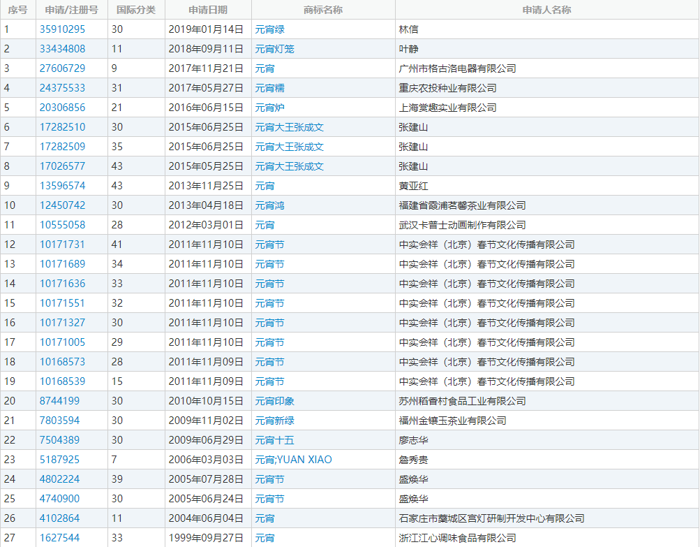
根据中国商标网综合查询发现,截至目前,共有27件含有“元宵”字样的商标,其中绝大多数为等待实质审查的,这部分比例约占52%,成功注册的所占比例约占33%,申请被驳回、不予受理等,导致商标无效的约占15%。小编进一步研究已注册成功的商标发现,这些带有“元宵”字样的商标注册指定使用在第7类、第9类、11类、28类、30类、31类、33类、35类、第43类上。

值得注意的是,有一个自然人和一个公司在注册“元宵节”这个商标,但是这些商标都属于实际待审查状态:



鉴于我国商标制度采取申请在先原则,带有节日字样的商标资源也是极其有限。所以小编建议大家在设计商标的时候,为了避免被商标局驳回,除了考虑到名字好听、好记、便于宣传等影响传播力的因素之外,最好能添加其他显著性元素使其获得独特的视觉效果,才能与在先商标区分开来,这样才能顺利通过商标局审查,提高商标注册成功率。